首页
关于宏顺
产品中心
企业形象
氧浴宝
无铬氧化剂
最新资讯
企业形象
联系我们
首页
返回
最新资讯
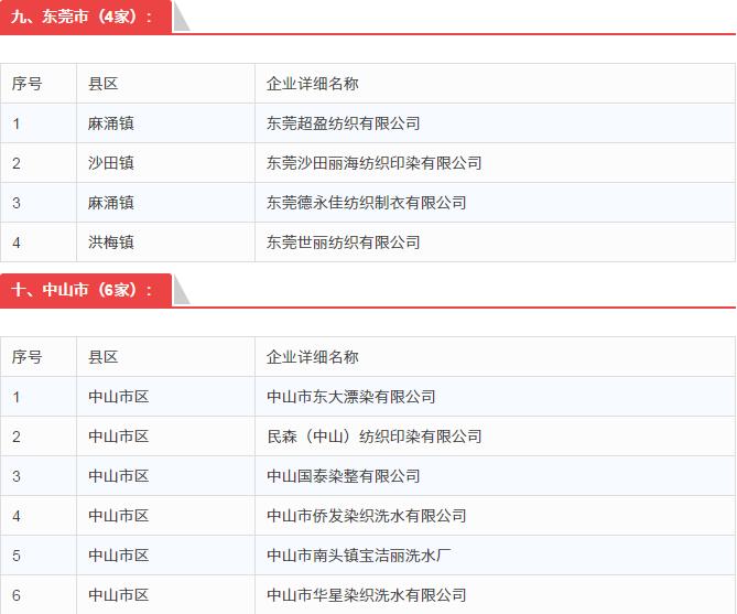
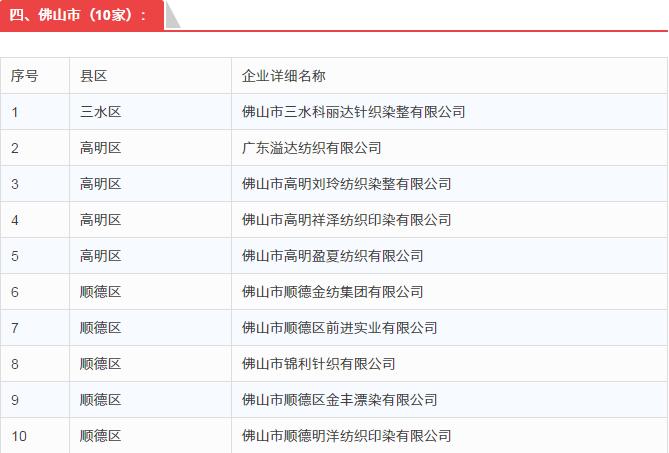
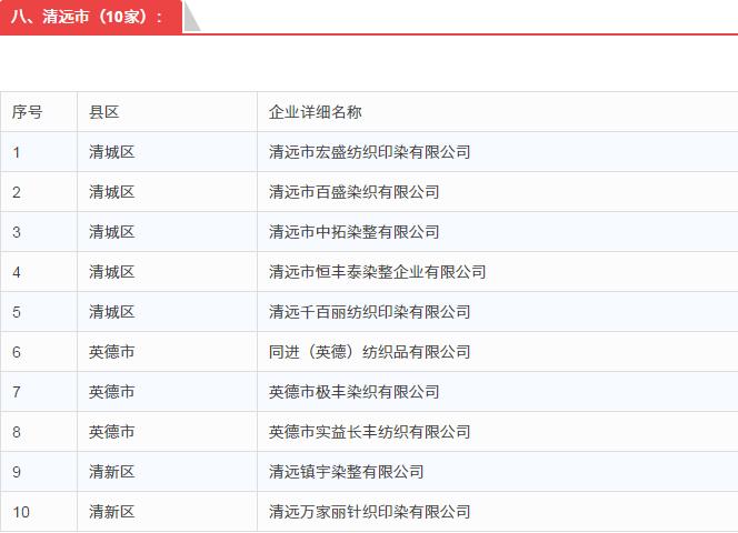
广东染厂请看:2017年重点监控印染企业49家【附名单】
更多精彩内容,微信添加公众号:yrzx518或点击下方“印染资讯”长按二维码识别即可关注它!
2017年5月17日,广东省环保厅公布《广东省2017年国家重点监控企业名单》,废水国家重点监控企业148家,经过小编查找整理,其中共有印染企业49家,具体明细如下。
来源 | 广东环境保护厅
编辑整理:印染资讯 ID:yrzx518
免责申明:版权归原作者所有,如有侵权请联系删除(小编微信:hshx5198)不当之处敬请谅解。
上一页:
这些印染厂的通病!老板带头拼命,员工旁边加油?
下一页:
福建华纶印染发布通知:5月底开始停产,预计停产2个月!
电话:
13717174366
邮件
地图
分享
最新资讯
技术支持